W型单级直连旋涡泵,具有结构简单,使用安全可靠,维修保养方便,体积小,重量轻等优点。 本产品性能稳定可靠。
W型单级直连旋涡泵地供汲送清小和物理化学性质类似于小的液体之用,使用液温不得超过60℃,常用于小型锅炉给水的配套,在造船、轻纺、化工、冶金、机械制造、水产养殖、固定消防稳压、热交换机组、农业远程喷灌等工业部门都有广泛的应用。
型号意义

结构示意
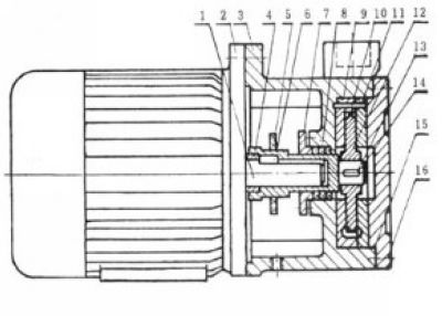
1W2.4-10.5产品结构

1 | 电机轴头 | 2 | 键 | 3 | 填料压盖 | 4 | 泵体 |
5 | 填料 | 6 | 键 | 7 | 叶轮 | 8 | 泵 轴 |
9 | 泵 架 | 10 | 挡水圈 | 11 | 轴承盖乙 | 12 | 轴承 |
13 | 小圆螺母 | 14 | 轴承盖甲 | | | | |
1W2.5-12产品结构

1 | 电机轴伸 | 2 | 电 机 | 3 | 泵 体 | 4 | 轴衬圈 |
5 | 挡水圈 | 6 | 键 | 7 | 压 盖 | 8 | 柔性石墨填料 |
9 | 内隔板 | 10 | 销 | 11 | 外隔板 | 12 | 叶 轮 |
13 | 接 轴 | 14 | 叶轮键 | 15 | O形密封圈 | 16 | 泵盖 |
安装使用与维护
1W 2.4-10.5使用说明
1.泵与二级50周波电机智联。
2.泵在第一次启动前,需向进口管路及泵内注满液体。
3.启动前必须把出口阀门打开,以减轻电机启动负荷。
4.输送液体内切不可混有颗粒杂质等物,以防进入泵内打坏叶轮。
5.填料室处应保持有正常漏水。
6.本公司生产的1W 2.4-10.5旋涡泵有填料密封和机械密封二种供用户选择。
1W 2.5-12使用说明
1.泵在启动前,需向泵内及进口管路内注满液体,泵内没液体时,决不允许启动运转,以免咬住。
2.启动前必须打开出口阀门,以减轻电机启动负荷。本泵决不允许在出口阀门关闭的情况下运转。
3.输送液体内切不可混有颗粒杂质,以防进入泵内,打坏叶轮。
4.填料室处应保持有正常漏水,一般以点滴为宜。
5.泵检修时,除调换易损件外,一般还需调换配用电机的轴承。
6.当需要泵在小于额定流量工况连续运行时,可采用回流的方法(从泵出口回流一部分液体至进口,其间用阀门加以控制,此时出口阀可全开),不要采用直接关小出口阀的办法,以防止电机超负荷运行。
安装尺寸

型号 | L | L1 | L2 | L3 | L4 | L5 | L6 | L7 | L8 | L9 | H | H1 | d | D | 电机型号 |
1W2.4-10.5 | 561.5 | 147 | 139.5 | 140 | 176 | 310 | 65 | 125 | 160 | 205 | 100 | 115 | φ12 | G1” | Y100L-2 |

型号 | L | L1 | L2 | B | B1 | B2 | B3 | H | H1 | d | D | 电机型号 |
1W2.5-12 | 465 | 140 | 160 | 310 | 160 | 205 | 70 | 100 | 125 | G” | φ12 | Y100L-2 |